КРНВ-5,6-02 (04)krnv-56-02-04-2017
Поиск деталей
КРНВ-5,6-02 (04)
/1.gif)
Культиватор навесной для высокостебельчатых культур КРНВ-5,6-02
/2.gif)
Культиватор навесной для высокостебельчатых культур КРНВ-5,6-04
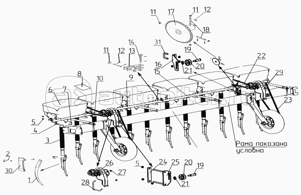
/3.gif)
Секция рабочих органов КРН 46.040
/4.gif)
Колесо КРН 46.090-Т
/5.gif)
Колесо КРНВ 46.070
/6.gif)
Транспортное устройство КРН 46.150
/7.gif)
Подкормочное приспособление КРН 46.380-01 (КРНВ-5,6-02)
/7.1.gif)
Подкормочное приспособление КРН 46.380 (КРНВ-5,6-04)
/8.gif)
Аппарат туковысевающий 509.046.5010-02-Т
/9.gif)
Механизм передач КРН 46.400 (правый), Механизм передач КРН 46.400-01 (левый)
/10.gif)
Установка приспособления КРН 46.640 для смещения замка навески (Поставляется по отдельным заказам потребителя)
/11.gif)
Рабочие органы КРНВ-5,6-02
/11.1.gif)
Рабочие органы КРНВ-5,6-04