To content
Помощь по сайту
Новости
zapros.kz@autopiter.com
Контакты
Все категории
Каталоги запчастей
Астана
Вход
Корзина
Все категории
Каталоги запчастей
Фильтры Hebel Kraft
Оригинальные каталоги по VIN
Неоригинальные запчасти
Запчасти ВАЗ, ГАЗ, КАМАЗ
Запчасти для ТО
Запчасти на ВАЗ, ГАЗ, Камаз и т.д.
Lemken
System-Korund 900 L
System-Korund 900 L
system-korund-900-l
Поиск деталей
Например:
System-Korund 900L
System-Korund 900L
Harrow section
Cable set
Basic frame
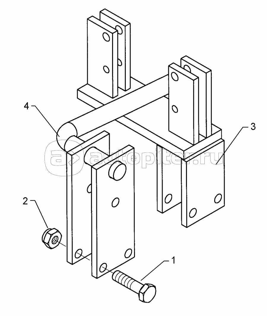
Locking device
Track scraper
Lower link connection
HY-assembly folding device
Locking device 12x127x271 750+900
Locking device 25x90 MI-SK 900
Locking device 70x70 MI-SK 900
Locking device 30x70
Locking device 30x70 C 7,5/9M
Locking device 30x70 Mi 9M
Заказы на сайте принимаются и обрабатываются круглосуточно
Бесплатно доставляем заказы «до двери» оптовым клиентам 5‑6 раз в неделю нашей собственной курьерской службой
Для тех, кто забирает заказы самостоятельно мы стараемся удобно располагать наши пункты самовывоза
Оплатить все товары можно
Или выбрать другой удобный для вас способ