To content
Помощь по сайту
Новости
zapros.kz@autopiter.com
Контакты
Все категории
Каталоги запчастей
Астана
Вход
Корзина
Все категории
Каталоги запчастей
Фильтры Hebel Kraft
Оригинальные каталоги по VIN
Неоригинальные запчасти
Запчасти ВАЗ, ГАЗ, КАМАЗ
Запчасти для ТО
Для спецтехники
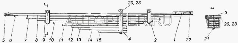
Рессора задняя камаз-4350 (11 листов)
57 предложений
Производители:
Marshall
Prc
Ural Spring
Автоваз
Агрегат
БЗРП
Камаз
НПФ Рессора
Россия
УралАЗ
ЧМЗ
1
2
НПФ Рессора
55111291210102NPF
Лист задней рессоры №1 КАМАЗ Евро 11 листов (90 мм х 18 мм) НПФ Рессора
БЗРП
432629120121
Рессора задняя КАМАЗ 4326 11 листов БЗРП БЗРП
Ural Spring
43102912101NPF
Лист рессоры КАМАЗ-43114,4350,43261 задней №1,2 L=1450мм НПФ РЕССОРА Ural Spring
Камаз
901811KZ291201202
Рессора задняя КамАЗ-65115, 43118, 53229 (11 листов) Камаз
Камаз
5322291201202
Рессора задняя 65115 11 листов L= 1476мм ПП Камаз
Россия
55111291210102NPF
Лист задней рессоры №1 КАМАЗ Евро 11 листов (90 мм х 18 мм) Россия
Россия
55111291210202NPF
Лист задней рессоры №2 КАМАЗ Евро 11 листов (90 мм х 18 мм) Россия
Prc
5322291201202NPF
Рессора задняя КАМАЗ 11 листов (ООО НПФ Рессора, г. Белорецк) Prc
ЧМЗ
901811KZ291201202
Рессора КамАЗ задняя (11 листов) (L 1476 мм., ст.ПП 90х20) ЧМЗ
Камаз
55111291210302
Лист рессоры задней №3 1120 Камаз
ЧМЗ
65202912111
лист рессоры задняя ! №11\ КаМАЗ ЧМЗ
НПФ Рессора
901811KZ291201202
Рессора задняя КамАЗ-65115, 43118, 53229 (11 листов) НПФ Рессора
Россия
55111291210102
Лист задней рессоры №1 КАМАЗ 13 т. 11 листов (АО ЧМЗ г. Чусовой) Россия
ЧМЗ
43102912112
Лист задней рессоры №9, 12, 14 КАМАЗ 10-13 т. 11 листов (АО ЧМЗ г. Чусовой) ЧМЗ
Автоваз
43102912103NPF
m/1297889/НПФ РЕССОРА/Лист №4 задней рессоры КАМАЗ43114, 4350, 43261 (12 л.) НПФ РЕССОРА Автоваз
Агрегат
43102912103NPF
m/1297889/НПФ РЕССОРА/Лист №4 задней рессоры КАМАЗ43114, 4350, 43261 (12 л.) НПФ РЕССОРА Агрегат
Камаз
901211KZ2912012
РЕССОРА ЗАДНЯЯ КАМАЗ-4326 (11 листов) (901211KZ-2912012) Камаз
Камаз
43262912408
Стремянка задней рессоры КамАЗ-4326,43261,4350,43502 (ПАО КамАЗ) Камаз
Камаз
55111291210401
ЛИСТ №4 ЗАДНЕЙ РЕССОРЫ КАМАЗ 14 ЛИСТОВ Камаз
НПФ Рессора
5322291201202
Рессора задняя КАМАЗ 11 листов 15 т (НПФ Рессора, г. Белорецк), , шт НПФ Рессора
Камаз
901410KZ291201201
рессора задняя КамАЗ (10 листов) Камаз
ЧМЗ
55111291211101
55111 Лист №11 Рессора задняя для КамАЗ 65115, 55111 14 листов ЧМЗ
ЧМЗ
55111291210102PP
55111 ПП Лист №1 Рессора задняя для КамАЗ 65115, 43118 11 листов ЧМЗ
ЧМЗ
55111291210202PP
55111 ПП Лист №2 Рессора задняя для КамАЗ 65115, 43118 11 листов ЧМЗ
Prc
55111291210202NPF
Лист задней рессоры №2 КАМАЗ Евро 11 листов (90 мм х 18 мм) (ООО НПФ Рессора, г. Белорецк) Prc
Prc
55111291210102NPF
Лист задней рессоры №1 КАМАЗ Евро 11 листов (90 мм х 18 мм) (ООО НПФ Рессора, г. Белорецк) Prc
Marshall
5322291201202
Рессора задняя для КАМАЗ (11 листов) (MARSHALL) Marshall
1
2
Часто ищут
рессора задняя камаз-4350 (11 листов)
лист №11 задней рессоры камаз 6520
рессора камаз 9 листов
лист рессоры задней камаз 6520
рессора паз задняя 11-листов
рессора задняя зил-4331 17 листов
рессора камаз задняя 65115-2902012-10 3-х листовая
лист коренной задней рессоры камаз
лист рессоры камаз 4326
листы рессоры камаз 1450
рессора вис задняя 5-х листовая
рессора газ 3-х листовая ,задняя
рессора задняя 3302 3-х листовая
рессора задняя для scania 8 листов
рессора задняя (11 листов) 3308-2912012
рессора задняя левая валдай (11 листов)
рессора передняя 3-х листовая камаз
рессора задняя 3-х листовая transit
лист задней рессоры фав
лист рессоры задний фав
Рекомендуем
Заказы на сайте принимаются и обрабатываются круглосуточно
Бесплатно доставляем заказы «до двери» оптовым клиентам 5‑6 раз в неделю нашей собственной курьерской службой
Для тех, кто забирает заказы самостоятельно мы стараемся удобно располагать наши пункты самовывоза
Оплатить все товары можно
Или выбрать другой удобный для вас способ