7823, 782317823-78231
Поиск деталей
Двигатель, предпусковой подогреватель;Engine, starting preheaterСистема питания двигателя;Engine fuel supply systemСистема выпуска отработавших газов;Exhaust systemСистема охлаждения двигателя;Engine cooling systemГидромеханическая передача;Hydromechanical gearКарданная передача;Gimbal driveМост ведущий передний;Front driving axleМост ведущий задний;Rear driving axleРама;FrameПодвеска;SuspensionКолеса и шины;Wheels and TyresРулевое управление;SteeringТормозные системы;Brake systemПневматическая система;Pneumatic systemЭлектрооборудование;Electrical equipmentИнструмент, принадлежности;Tools and accessoriesРабочее оборудование;Working equipmentПриспособления и дополнительные системы;Appliances and additional systemsКабина и оперение;Cab and fendersЭлектронные системы управления;Electronic control systemsПодшипники;Bearings

Установка рабочего оборудования (7823-4600002-04);Mounting of working equipment

Установка цилиндров подъема и поворота отвала (7823-4600002-04);Mounting of blade raising cylinders and turn cylinders

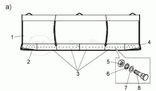
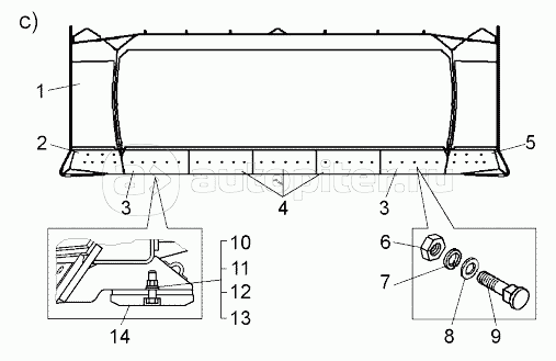
Отвал с ножами (вариант a) – тип "U" (7823-4607090);Blade with cutters (variant a) – type "U"

Отвал с ножами b) – тип "S" (7823-4607090-01);Blade with cutters b) – type "S"

Отвал с ножами c) – тип "SU" (7823-4607090-04));Blade with cutters c) – type "SU")

Цилиндр подъема отвала (7823-4613010);Blade raising cylinder

Цилиндр поворота отвала (7823-4614010-10);Blade turn cylinder

Трубопроводы рабочего оборудования (78231-4600005-20);Pipelines of working equipment

Клапан (78221-4617140-40);Valve

Клапан двухмагистральный (78221-4619074);Two way valve

Клапан редукционный (78221-4619340);Reduction valve

Блок клапанов (78231-4619080);Set of valves

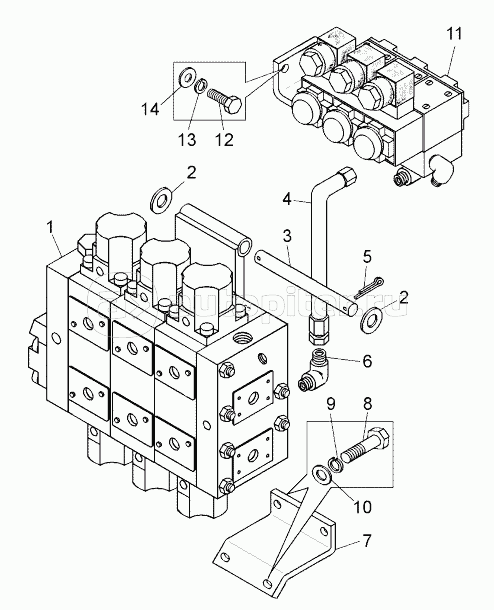
Установка блока гидрораспределителей (78231-4600008-10);Mounting of hydraulic distributors unit

Гидрораспределитель управления (7823-4617200);Control hydraulic distributor

Гидрораспределитель (78231-4617010);Hydraulic distributor

Блок корпусов (78231-4612000);Set of bodies

Клапан вспомогательный (7820-4603100);Auxiliary valve

Клапан предохранительный (78211-4617100, 7823-4617100);Safety valve

Установка блока управления (78231-4600009, 78221-4600009-10);Mounting of control unit

Установка масляного бака (78231-4600004);Mounting of oil tank

Бак масляный (78231-4615010);Oil tank

Установка насоса (78231-4611032);Mounting of pump