БелАЗ-75600belaz-75600
Поиск деталей
Дизель с подмоторной рамой и система пневмостартерного пуска двигателяСистема питанияСистема выпуска отработавших газовСистема охлаждения двигателяЭлектропривод тяговыйВедущий мостРамаПодвескаПередняя ось, колеса и шиныРулевое управлениеТормозные системыПневматическая системаЭлектрооборудованиеИнструмент и принадлежностиСистема пожаротушенияКабина и оперениеСистема видеообзораПлатформаОпрокидывающий механизм

Установка радиаторов и вентилятора 75600-1300010

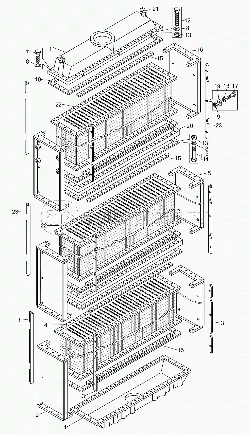
Блок радиаторов 75600-1300008 с кожухом вентилятора

Радиатор 75600-1301011

Трубопроводы системы охлаждения двигателя 75600-1300010

Установка пароотводных трубок системы охлаждения двигателя 75600-1300010

Установка расширительного бачка системы охлаждения двигателя

Краник сливной 549А-1305010

Установка пневмопривода управления жалюзи радиаторов 75306-1300015

Жалюзи радиатора правые 75600-1310110

Жалюзи радиатора левые 75600-1310111

Пневмопереключатель 549Б-1310300