To content
Помощь по сайту
Новости
zapros.kz@autopiter.com
Контакты
Все категории
Каталоги запчастей
Астана
Вход
Корзина
Все категории
Каталоги запчастей
Фильтры Hebel Kraft
Оригинальные каталоги по VIN
Неоригинальные запчасти
Запчасти ВАЗ, ГАЗ, КАМАЗ
Запчасти для ТО
Запчасти на ВАЗ, ГАЗ, Камаз и т.д.
Lemken
EurOpal 9
EurOpal 9
europal-9
Поиск деталей
Например:
Contents
Contents
Stand
Lower link connection
Basic frame
Frame extension
Skim stalk
Depth wheel
Carrier for light
Disc coulter
Headland attachment
HY
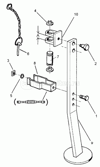
Stand R750-800
Stand R750-800
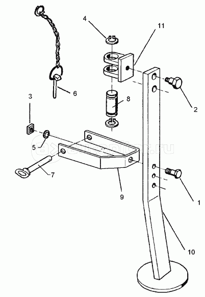
Stand R850-900
Stand R750-800 D120 HY
Stand R850-900 D120 HY
Stand V-R750-800 915mm
Заказы на сайте принимаются и обрабатываются круглосуточно
Бесплатно доставляем заказы «до двери» оптовым клиентам 5‑6 раз в неделю нашей собственной курьерской службой
Для тех, кто забирает заказы самостоятельно мы стараемся удобно располагать наши пункты самовывоза
Оплатить все товары можно
Или выбрать другой удобный для вас способ